根据美国商标和专利局(USPTO)公示的一份清单,苹果公司最新获得了一项名为《基于位置信息定向波形成的中继坞站和基站》的技术专利。该专利有望显著改善虚拟现实和增强现实体验。这项技术创新允许多个Vision Pro头显之间进行联动,为用户提供优质的联机体验

据小编了解,该技术专利的关键在于头显上的天线阵列和内置传感器,它们的作用不仅仅是传输和接收定向波信号,还能够追踪Vision Pro头显的位置和动作。这一功能使佩戴者能够在虚拟现实和增强现实环境中相互交互,而不必担心在游戏场景中互相碰撞,从而实现更加身临其境的联机体验。

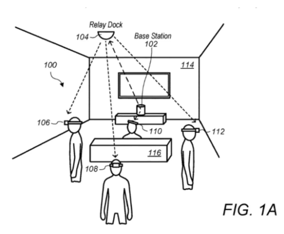
苹果公司的这项专利摘要描述了这一创新的通信系统,其中包括一个基站和一个或多个继电器对接,它们之间通过高频波(如毫米波)传输定向波信号。而波束形成决策引擎则利用从用户设备的一个或多个位置或运动传感器收集的位置信息,来确定传输在无线通信系统组件之间的定向波信号的方向。
这一专利的推出为苹果的虚拟现实和增强现实产品线增添了新的技术支持,未来我们可以期待更加沉浸式和互动性强的虚拟现实体验,将会成为未来科技发展的一个重要方向。
