苹果近日成功获得了一项创新设计专利,该专利涉及一款MagSafe配件,能够为正在拍摄中的iPhone提供充电功能。(82个字)

这款新型配件被称为《相机充电和稳定适配器》,其充电机制采用磁吸式设计,尽管专利文档中没有明确提及“MagSafe”。市场上虽然有许多为单反相机设计的三脚架和云台等稳定装置,但对于手机摄影来说,稳定器的选择却相对有限。

苹果公司的这一设计旨在填补市场需求。据了解,这款新配件小巧易携带,满足摄影师的长时间拍摄需求。其独特设计不仅能与云台连接,还能为iPhone提供稳定充电支持。

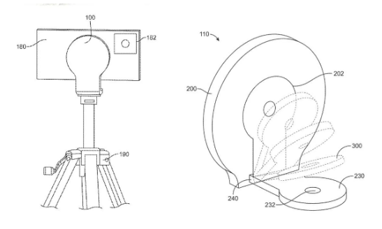
从专利草图中可以看出,该设备外形类似于一个圆形支架,可以折叠成90度角以便于使用。它的水平部分较为厚实,并内置了与标准三脚架连接的接口系统。而垂直部分则是MagSafe支架,设计上与苹果现有的圆形支架相似,但略显修长。
市场上已有类似功能的商品,但无充电功能。苹果公司的创新设计为手机摄影爱好者提供了更便捷、高效的拍摄体验。
