近期,世界知识产权局(WIPO)发布的名单显示,苹果公司成功取得了一项名为《GESTURE RECOGNITION WITH HAND-OBJECT INTERACTION》的手势专利。这一成就表明苹果正有条不紊地推进将Vision Pro头显的空中手势操作技术应用到iPhone、iPad、MacBook等其他设备的计划。

据小编了解,这项专利的核心在于其能够扫描并识别用户的手势,然后分析扫描数据,以识别出预定义的手势。具体来说,这项技术可以通过摄像头捕捉人的手臂图像,或者通过手部附带的加速度计捕捉手部的运动数据。然后,系统会对捕捉到的手势数据进行分析,将其与预存、预定义的手势进行匹配,从而实现相关的交互操作。

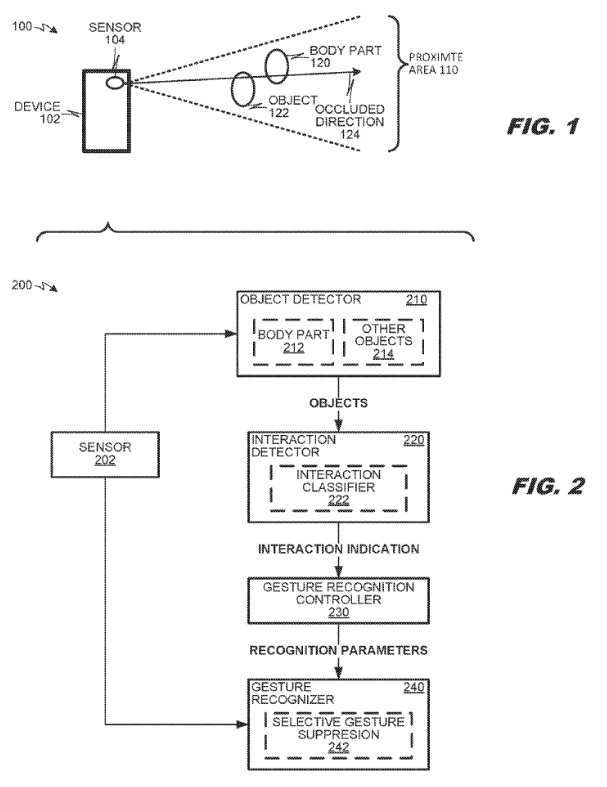
苹果公司在专利描述中详细阐述了手势识别的示例场景。在这个场景中,设备包括一个传感器,用于扫描包括用户身体部位和另一个物体的近距离区域。这个物体可以是近距离区域中的任何物体,除了用户的身体部位。例如,用户的身体部位可以是一只手,而物体可以是一支笔或另一只手。在扫描过程中,身体部位和物体可以进行交互,如一方遮挡另一方。这种交互方式将为用户带来更加自然和直观的操作体验。

总的来说,苹果公司成功获得这项新手势专利,将为其在人机交互领域带来更多的发展机会。我们可以期待苹果将这项技术应用到更多产品中,从而为用户提供更加丰富和便捷的交互体验。这一举措将有助于提升苹果在市场上的竞争力,同时也为用户带来更多创新和便利。
4天前 EIGEN币 0
正版软件- Gemini平台虚拟币怎么转别的平台
- 如何将Gemini平台虚拟币转至其他平台?按照以下步骤即可实现:1.登陆Gemini账户;2.前往提现页面;3.选择虚拟币;4.输入金额和地址;5.确认并发送;6.完成转账。
- 4天前0
正版软件
正版软件- 十年后柴犬币能涨到100元吗
- 预测柴犬币未来价值存在难度。但考虑到当前价值、竞争、实用性等因素,柴犬币在未来十年内达到100美元的可能性很小。
- 4天前0
正版软件- 苦等半年上线破发 80%,细数 gm.ai 创始人的“骚操作”
- 作者:南枳,Odaily星球日报昨夜19时,预售了近半年之久的GM(gm.ai)终于开启了空投和代币交易,然而GM短暂触及0.13美元后在数分钟内暴跌,截止20时报价0.025美元,一小时下跌80%。该代币预售时平均分配量约为1SOL分配1500枚GM代币,按照预售时190USDT的SOL价格,亏损比例高达80%。天量预售,转身转入币安半小时预售15.5万枚SOL自3月初BOME开启了去中心化预售募资的风潮后,陆续出现了多个超高募资金额的项目,募资上限从BOME的1万枚SOL逐步提升至数万枚。3月18日,
- 4天前0
