7月15日消息,福特汽车公司最近获得了一项引人注目的技术专利,该专利涉及一种名为"移动充电拖车"的创新设备。据悉,该拖车在2022年1月13日提交专利申请,并在7月13日的清单中正式公示。这项技术专利的引入将为建筑工地和其他场景带来全新的便利和灵活性。

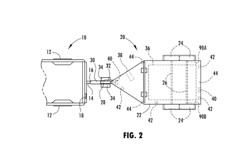
据福特表示,这种移动充电拖车特别适用于建筑工地环境,能够连接电动滑移装载机、起重机等多种设备,满足灵活的生产需求。通过拖车上配备的充电端口,电动汽车和其他设备可以随时获得动力供应,提高工作效率和便捷性。这一创新设计有望在建筑行业中引起巨大的变革,并为现代化工地提供更加智能、高效的解决方案。

尽管福特的专利申请并未明确提及,但据小编了解,这种电动拖车的应用领域远不止建筑工地。可以预见,这种拖车也可能在露营、海滩度假、聚会等活动中发挥重要作用,成为一个超大号的"移动电源"。其便携性和充电功能使得使用者可以随时为电动汽车、户外设备等提供可靠的动力支持,极大地增加了户外活动的便利性和舒适度。

这项技术专利的公示引起了业界和消费者的广泛关注。福特汽车公司的创新举措再次展示了他们对于电动车辆和可持续出行的承诺。通过开发这样一项具有多样化应用场景的移动充电拖车,福特为未来的出行和工作方式提供了新的可能性,同时也推动了清洁能源的普及和应用。随着这一技术的不断发展和推广,人们可以期待更多创新的出现,让我们的生活更加便捷、绿色、可持续。
