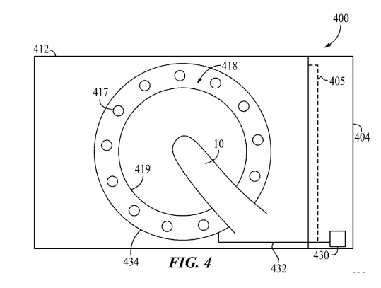
近日,美国商标和专利局公布了一项苹果公司最新获得的关于Vision Pro头显技术的专利。这一专利揭示了苹果在改进虚拟现实交互体验方面的新计划,计划通过在Light Seal中集成触控传感器,为用户提供更丰富、更直观的交互方式。

Light Seal作为苹果头显的一个重要组成部分,目前主要由柔软的纺织品制成,具有多种形状和尺寸,可以灵活弯曲以适应不同用户的脸部轮廓。其主要功能是阻挡外部光线,从而增强头显的沉浸式体验。然而,根据最新专利描述,苹果计划对Light Seal进行重大升级,将其打造成一个超大的触控交互区域。






据小编了解,苹果在这项新专利中提出了一种创新的导电织物材料,用于替代传统的纺织品。这种导电织物内置了传感器,能够精确识别佩戴者的交互手势,如旋转、上下滑动等。未来,Vision Pro头显将配备内置计算设备,用于收集和分析这些触控手势数据,并根据用户的交互意图做出相应的响应。
这一创新设计有望为虚拟现实用户带来更加自然和直观的交互体验。通过直接在Light Seal上进行触控操作,用户将能够更加轻松地与虚拟世界进行互动,无需依赖传统的控制器或手势识别设备。这不仅将提升用户的沉浸感,还有助于降低虚拟现实设备的使用门槛,吸引更多消费者加入虚拟现实的行列。
4天前 EIGEN币 0
正版软件- Gemini平台虚拟币怎么转别的平台
- 如何将Gemini平台虚拟币转至其他平台?按照以下步骤即可实现:1.登陆Gemini账户;2.前往提现页面;3.选择虚拟币;4.输入金额和地址;5.确认并发送;6.完成转账。
- 4天前0
正版软件
正版软件- 十年后柴犬币能涨到100元吗
- 预测柴犬币未来价值存在难度。但考虑到当前价值、竞争、实用性等因素,柴犬币在未来十年内达到100美元的可能性很小。
- 4天前0
正版软件- 苦等半年上线破发 80%,细数 gm.ai 创始人的“骚操作”
- 作者:南枳,Odaily星球日报昨夜19时,预售了近半年之久的GM(gm.ai)终于开启了空投和代币交易,然而GM短暂触及0.13美元后在数分钟内暴跌,截止20时报价0.025美元,一小时下跌80%。该代币预售时平均分配量约为1SOL分配1500枚GM代币,按照预售时190USDT的SOL价格,亏损比例高达80%。天量预售,转身转入币安半小时预售15.5万枚SOL自3月初BOME开启了去中心化预售募资的风潮后,陆续出现了多个超高募资金额的项目,募资上限从BOME的1万枚SOL逐步提升至数万枚。3月18日,
- 4天前0
